无填料喷雾冷却塔在糖厂循环水中的应用
2007-12-18 21:54:52 来源:本站原创 评论:0 点击:
【摘要】无填料喷雾冷却塔是一种新型的工业循环水降温的设备,通过对比监测证明,无填料喷雾冷却塔非常适合用于糖厂循环水冷却处理,是在糖厂中取代喷水冷却池最好的循环水降温设备。
【关建词】无填料喷雾冷却塔;喷水冷却池;冷凝冷却水;循环;制糖;糖厂
【分类号】TS249.9
1 引 言
在甘蔗制糖过程中, 要用去大量的水,特别是蒸发、煮糖产生的汁汽冷凝冷却用水。据统计, 目前国内糖厂每处理吨甘蔗与耗水量之比约为1∶18~ 32, 其中有80% 以上为冷凝冷却用水。随着糖厂生产规模的不断扩大, 加上水源污染越来越严重, 水资源的供需矛盾日益尖锐, 而随着水法及环境保护法的实施,制糖企业的环保意识逐步提高。因此,糖厂中大都采用了冷凝冷却水循环使用的方式, 提高水循环利用率,达到减少取水量及污水排放量的目的。
目前,糖厂冷凝冷却水降温处理的方法有多种, 其中以喷水冷却池为冷却构筑物的冷却系统以其降温冷却效率较高、对水质水温变化适应性较强、结构简单、操作灵活方便等特点而被糖厂广泛采用。然而,喷水冷却池因其结构上的原因,也存在不足:(1)冷却能力低;(2)占地面积大;(3)飘水率高;(4)管路长,易腐蚀,喷嘴易堵塞,修护困难。
机械通风冷却塔是工业循环冷却水处理的常用设备,其中最常用的是填料冷却塔,其广泛应用于石化、化纤、化工、冶金、生化、轻工、电力、制药和空调制冷系统等工业领域,但一直没有在糖厂冷凝冷却水降温处理中得到应用,主要原因是糖厂冷凝冷却水水质较差,含有少量糖分, 易产生盐垢及滋生微生物,填料冷却塔运行一段时间后极易出填料变形或堵塞,造成布水不均,冷却效果逐渐下降,甚至无法运行。
近年出现一种循环水无填料喷雾冷却塔,由于其很好的结合了喷水冷却池及通风冷却塔的特性,拥有很好的冷却性能及占地小、设备运行安全、免维护等优点,使其逐步在糖厂中得到推广。龙州南华糖业有限责任公司龙州糖厂2005年引进三台单台处理量为1000m3/h的无填料喷雾冷却塔,用于冷凝冷却水的循环冷却处理。经过一个榨季的生产运行,证明其优良的性能完全适合用于糖厂循环水的处理。
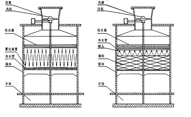
2 无填料喷雾冷却塔的结构与工作原理[1][2]
无填料喷雾冷却塔是利用循环水回水压力通过安装在塔内的若干高效低压离心雾化装置(雾化装置工作压力仅为0.035MPa),形成高速离心运动,将循环水喷射至2~3 m 的高度,循环水被粉碎成0. 5~1 mm的微小水粒,在风机的作用下,形成雾化状态,使循环水雾悬浮在冷却塔内与空气进行热交换,从而实现冷却降温的效果。
无填料喷雾冷却塔的结构如图1a ,填料喷雾冷却塔结构如图1b。
如图1 所示,无填料喷雾冷却塔中,布水管道位于进风道的上方,填料冷却塔堆放填料的地方。其雾化装置均匀地安装在布水管上,其雾化空间为填料冷却塔的填料所在位置。自雾化装置中出来的水是上喷的,填料冷却塔中从布水管出来的水是通过喷头下喷的。其他如塔体、风筒、风机、水池等,两种塔基本相同。无填料喷雾冷却塔内几乎成一个“空塔”。布水系统与低压离心雾化装置构成一组整体的冷却元件,水从塔的进风道处往上喷射。根据塔体结构,布置相应的收水器,以防飘水,整个塔的结构大大简化。

(a)无填料 (b) 有填料
图1 喷雾冷却塔的结构图
冷却塔的冷却效果取决于三个要素: 一是冷空气量与冷却水量的比值,即气水比; 二是塔内冷却空气和冷却水接触的比表面积;三是冷却时间。
无填料冷却塔采用风机进行强制通风,相对于喷水冷却池的自然通风,其气水比大大增加;无填料喷雾冷却塔将冷却塔内填充的填料全部去除,使整塔几乎成为一个“空塔”,极大地减小了塔内系统阻力,冷空气量自然增大,气水比也就相应增大。塔内填料去除后,填料堵塞、垮塌,碎片进入工艺设备造成设备损坏等诸多弊端,彻底得到了根除。
在无填料喷雾冷却塔中,循环水通过离心雾化装置在塔体内形成悬浮的水雾状与冷空气进行热交换。在塔内形成的雾状区间,只要冷却塔不停止运行循环水就始终以“雾状”形态与冷空气进行接触,其接触的比表面积,比水被填料分散而成的膜状的表面积增大5 %~10 %。
无填料喷雾冷却塔布水采取上喷方式,喷射空间保持在4 m 左右,循环水与冷空气在塔内形成两个换热冷却过程,即顺流和逆流两个过程。同时,水雾在下降过程中还会遇到上升的空气流,延缓了水粒的下降速度,从而保障了热交换时间。
3 应用情况
无填料喷雾冷却塔目前已成功地在石油、化工、冶金、造纸等行业广泛使用,在制糖行业中,已有糖厂在使用。龙州南华糖业有限责任公司龙州糖厂2005年引进三台单台处理量为1000m3/h的无填料喷雾冷却塔,应用于冷凝器冷却水的循环冷却,取得良好效果。
3.1 循环水工艺流程
引进无填料冷却塔后,龙州糖厂循环水冷却采用喷水冷却池及无填料喷雾冷却塔两种方式并联进行冷凝器冷却水的降温处理,其中喷水冷却池的处理量约为4000m3/h,喷雾冷却塔的处理量约为3000m3/h,总循环水量7000m3/h,满足糖厂日处理甘蔗9000吨的循环用水要求,其冷凝冷却水实现全循环使用。工艺流程见图2。

3.2 运行监测对比
龙州糖厂三台无填料喷雾冷却塔设计参数为:单塔循环水量1000m3/h,湿球温度28℃条件下,进水温度<45℃时,出水温度≤33℃。三台冷却塔于2005年11年15日投入使。表Ⅰ是龙州糖厂冷却塔及喷水冷却池连续十天的运行监测记录。
表Ⅰ监测记录显示,无填料喷雾冷却塔运行达到设计要求,降温效果明显,温差可达到12℃,略好于喷水冷却池。在各种气候条件下(糖厂生产期),出塔水温基本达到33℃以下,冷却水能直接满足糖厂煮糖及蒸发冷凝器用水的要求。
表Ⅰ 无填料喷雾冷却塔与喷水冷却池运行监测对比
|
日期 |
室内温度
(℃) |
无填料喷雾冷却塔 |
喷水冷却池 | ||||
|
进塔水温
(℃) |
出塔水温
(℃) |
温差(℃) |
进池水温
(℃) |
出池水温
(℃) |
温差(℃) | ||
|
11月27日 |
23 |
44 |
32 |
12 |
43 |
33 |
10 |
|
11月28日 |
24 |
45 |
34 |
11 |
45 |
34 |
11 |
|
11月29日 |
20 |
45 |
33 |
12 |
44 |
33 |
11 |
|
11月30日 |
24 |
41 |
30 |
11 |
40 |
30 |
10 |
|
12月1日 |
28 |
48 |
36 |
12 |
46 |
36 |
10 |
|
12月2日 |
30 |
48 |
37 |
11 |
48 |
35 |
13 |
|
12月3日 |
23 |
47 |
32 |
15 |
46 |
32 |
14 |
|
12月4日 |
20 |
42 |
30 |
12 |
40 |
30 |
10 |
|
12月5日 |
15 |
43 |
33 |
10 |
42 |
32 |
10 |
|
12月6日 |
10 |
43 |
30 |
13 |
43 |
30 |
13 |
说明:因无填料喷雾冷却塔与喷水冷却池取水位置不同,所以两者的进塔(池)水温有差别。
4 无填料喷雾冷却塔与喷水冷却池对比
4.1 降温效果
如以上监测结果所示,无填料喷雾冷却塔因空气阻力小、流量大,气水比高,水气接触面积大,水滴留空时间长等原因,降温效果很好,降温温差略好于喷水冷却池。
4.2 飘水损失对比
无填料喷雾冷却塔塔内装有专用收水器,不会出现飘水现象,龙州糖厂三台冷却塔在使用过程中,未观察到有飘水现象。喷水冷却池因露天设置,飘水现象严重,风大时,甚至造成喷水冷却池周边受飘水潮湿。
4.3 设备投资及运行费用
无填料喷雾冷却塔与喷水冷却池循环水系统除冷却单元的设备不同外,其它辅助水泵、泵房等基本相同。两种系统的投资及运行费用差别主要是作为冷却单元的冷却塔与喷水池的差别。
龙州糖厂无填料喷雾冷却塔及喷水冷却池的设备投资组成见表Ⅱ。无填料喷雾冷却塔设备管道投资比喷水冷却池高,但因冷却塔的水池比喷水冷却池面积小很多,其水池及设备基础的土建费用比喷水池低,两者的总投资费用基本相当。
除辅助水泵的运行费用外,喷水冷却池无需其它动力消耗,因而运行费用基本为零;而无填料喷雾冷却塔的风机需要电力消耗。龙州糖厂三台冷却塔风机功率为30KW/台,年耗电约为(以榨季130天计)3×30kw×24h×130d=280800kw.h,电价按0.52元/kw.h计,年运行费用约为14.6万元,平均吨水处理费用0.0156元。
表Ⅱ 无填料喷雾冷却塔及喷水冷却池的设备投资组成
|
项目 |
无填料冷却塔
3×1000m3/h |
喷水冷却池
4000 m3/h |
|
设备及管道费用 |
72万元 |
53万元 |
|
水池及设备基础 |
24万元 |
68万元 |
|
投资合计 |
96万元 |
121万元 |
|
经济指标 |
0.032万元/ m3/h |
0.030万元/ m3/h |
说明:本表设备投资仅指冷却单元主体设备的投资,不含辅助水泵及泵房等的投资费用。
4.4 设备运行与维护
龙州糖厂三台无填料喷雾冷却塔经过2005/2006年榨季4个月的连续运行测试,设备运行完好,检查无喷头堵塞及其它故障现象。设备管道因进行了防腐处理,且塔的外壁为玻璃钢结构,基本免维护。而喷水冷却池因管路较长,离水泵远处的喷头常出现堵塞现象,每年对管道的清理防腐工作量很大。
4.5 占地面积
龙州糖厂三台冷却塔总处理能力为3000 m3/h,占地面积仅为12m×30m=360m2,处理量与面积比为8.33 m3/ m2.h;而处理能力为4000m3/h的喷水冷却池占地达50m×95m=4750 m2,处理量与面积比为0.84 m3/ m2.h。
表Ⅲ是无填料喷雾冷却塔与喷水冷却池特点的对比。
表Ⅲ 无填料喷雾冷却塔与喷水冷却池特点对比
|
|
无填料喷雾冷却塔 |
喷水冷却池 |
|
水处理能力 |
大 |
大 |
|
降温效果 |
较好 |
好 |
|
飘水损失 |
极少 |
严重 |
|
设备投资 |
较高 |
高 |
|
占地面积 |
较小 |
很大 |
|
设备运行维护 |
免维护 |
需维护 |
5 结语
无填料喷雾冷却塔因其冷却温差大、冷却水量大、节能效果好、水质适应能力强、运行稳定可靠、维修少、运行费用低、使用寿命长等优点,已被证实非常适合用于糖厂循环水冷却处理,是在糖厂中取代喷水冷却池最好的循环水降温设备。
参考文献
[1] 梁武,曹佑斌.无填料喷雾冷却塔在工业循环冷却水中的应用[J].工业水处理,2003,23(1):67.
[2] 李鸿莉,杜勤,郑程玉,何江.无填料喷雾冷却塔的研究及应用[J].工业水处理,2003,23(8):56.
作者简介:莫世军(1974-)男,助理工程师,本科学历,制糖工程专业,现任职龙州南华糖业有限公司龙州糖厂,从事制糖工艺管理工作。联系地址:广西龙州县北门街34号,邮编:532400,E-MAIL:junne@21cn.com,联系电话:13087966700
相关热词搜索:喷雾冷却塔
上一篇:生化处理的恒温恒湿控制系统设计
下一篇:糖厂煮糖真空系统改造探索
分享到:
收藏
评论排行
- ·中国发酵企业数据库(4)
- ·(4)
- ·CoQ10高产菌株选育的研究进展(2)
- ·抗生素发酵工艺所用冷却塔的性能分析及处理(1)
- ·微生物菌种选育技术.rar(1)
- ·发酵生产染菌及其防治(1)
- ·赤藓糖醇发酵工艺研究(1)
- ·重组AiiA 蛋白可溶性表达及发酵条件优化(1)
- ·生物反应器设计软件_发酵罐绿色版(1)
- ·酵母粉、酵母浸粉的区别(1)
- ·雷帕霉素研究进展(1)
- ·透明质酸用途和行业概况(1)
- ·黄酒制作工艺(1)
- ·水解(酸化)工艺与厌氧发酵的区别(1)
- ·糖蜜酒精废液处理过程中产生的微生物蛋...(1)
- ·紫杉醇高产菌发酵产物的分离、纯化和鉴定(1)

